#17 I brevetti
Ecco di seguito presentati alcuni dei brevetti dell'evaporimetro pubblicati dal 1920 al secolo corrente:
N. US1332659A
INVENTORE: Carlos G. Bates
DATA: 1920-03-02
Lo scopo della presente invenzione è di fornire un mezzo mediante il quale l'evaporazione venga prodotta ad una velocità che si coordinerà approssimativamente con la velocità di evaporazione dalle piante in tutte le possibili variazioni di luce, calore, vento e condizioni atmosferiche.
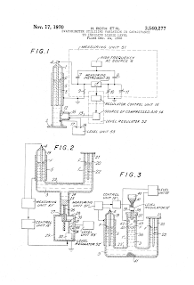
INVENTORI: Roth Hermann & Walz Heinz
DATA: 1970-11-17
L'invenzione riguarda un evaporimetro che utilizza una variazione di capacità per indicare un livello di liquido.
La misurazione della quantità di acqua evaporata è importante in un sistema di condizionamento d'aria corretto o preciso. La misura dell'evaporazione dell'acqua è anche di particolare interesse nella ricerca botanica o zoologica. Anche in meteorologia è spesso necessario avere una determinazione esatta della velocità di evaporazione.
La misurazione della quantità di acqua evaporata è importante in un sistema di condizionamento d'aria corretto o preciso. La misura dell'evaporazione dell'acqua è anche di particolare interesse nella ricerca botanica o zoologica. Anche in meteorologia è spesso necessario avere una determinazione esatta della velocità di evaporazione.
Un evaporimetro ha un primo e un secondo contenitore impilati per contenere l'acqua e una scala per misurare la quantità di acqua nei contenitori. I contenitori sono coperti da uno schermo e sono bilanciati e supportati da una punta a terra. Un'uscita si trova alla stessa elevazione del livello zero sulla bilancia in modo che l'acqua possa essere drenata rapidamente a quel livello. Le letture prese dalla scala possono essere utilizzate per regolare l'irrigazione delle piante circostanti.
PROBLEMA DA RISOLVERE: Prevedere un evaporimetro la cui struttura sia semplice, che sia difficilmente soggetto all'influenza di una pioggia o simili e la cui manutenzione sia ridotta.
SOLUZIONE: Viene fornito un contenitore (4) in cui viene immessa l'acqua (6). È previsto un tubo poroso (1) disposto superiormente dalla superficie dell'acqua (6) all'interno del contenitore (4). E 'previsto un mezzo di rifornimento mediante il quale l'acqua (6) all'interno del contenitore (4) viene guidata all'interno del tubo poroso (1) in modo da reintegrare l'acqua (6) evaporata dalla faccia esterna del tubo poroso (1). Ad esempio, un tubo di rifornimento (7) la cui estremità superiore è collegata al tubo poroso (1), il cui interno è riempito con l'acqua (6) e la cui estremità inferiore è immersa nell'acqua (6) all'interno del contenitore (4), un tappo (8) che sigilla ermeticamente l'estremità inferiore del tubo di riempimento (7), e un capillare (5) che viene fatto passare attraverso il tappo (8), compongono i mezzi di rifornimento
SOLUZIONE: Viene fornito un contenitore (4) in cui viene immessa l'acqua (6). È previsto un tubo poroso (1) disposto superiormente dalla superficie dell'acqua (6) all'interno del contenitore (4). E 'previsto un mezzo di rifornimento mediante il quale l'acqua (6) all'interno del contenitore (4) viene guidata all'interno del tubo poroso (1) in modo da reintegrare l'acqua (6) evaporata dalla faccia esterna del tubo poroso (1). Ad esempio, un tubo di rifornimento (7) la cui estremità superiore è collegata al tubo poroso (1), il cui interno è riempito con l'acqua (6) e la cui estremità inferiore è immersa nell'acqua (6) all'interno del contenitore (4), un tappo (8) che sigilla ermeticamente l'estremità inferiore del tubo di riempimento (7), e un capillare (5) che viene fatto passare attraverso il tappo (8), compongono i mezzi di rifornimento




Commenti
Posta un commento